5기업형커스트마이징 서비스 주요화면
-
1. 입점업체(셀러/공급사) 생성/승인관리

-
2. 공급사 상품 위탁판매 승인관리

-
3. 공급업체 월별 정산내역조회


-
4. 셀러 월별 정산내역조회


-
5. 공급업체 세부정산내역조회


-
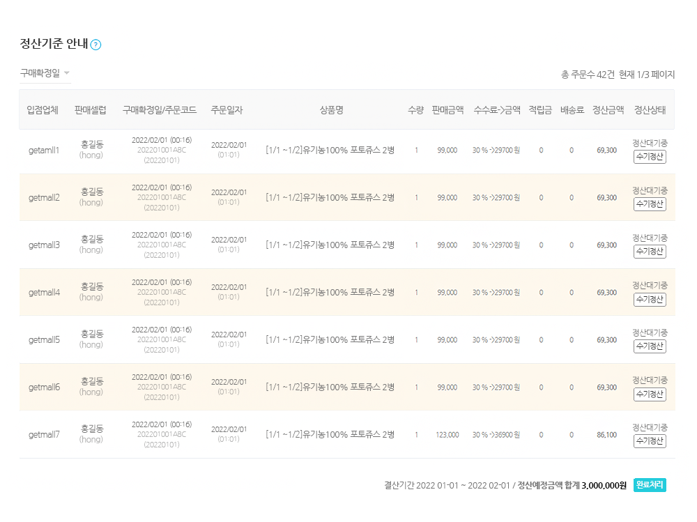
6. 셀러 세부정산내역조회


-
7. 셀러 세부정산내역조회
-
① 셀러그룹 시 상품상세페이지에서 홍보 및 샘플주문 가능
-
② 셀러마이페이지
-
③ 셀러 판매신청 현황
-
④ 셀러 판매상품 정산예정 현황
-
⑤ 다른 셀러페이지
-









